Balkon czy taras to konstrukcja składająca się z wielu elementów, których właściwa współpraca w warunkach eksploatacyjnych gwarantuje długotrwałe i bezproblemowe użytkowanie.
Wilgoć z zewnątrz (pochodząca z opadów atmosferycznych) wnika w podłoże poprzez rysy, szczeliny, pęknięcia czy też niedokładności wykonania. Przyczyny ich powstawania są dość łatwe do określenia. Postaram się wypunktować je poniżej.
1. Fugi
Panuje jeszcze mylny niestety pogląd, że fugi są wodoszczelne. Wszystkie zaprawy fugujące do stosowania na tarasach muszą być wodoodporne, ale nigdy nie są wodoszczelne. Niewidoczne gołym okiem rysy są wystarczającą drogą umożliwiającą wodzie dostęp do głębiej położonych warstw tarasu.
2. Dylatacje
Taras poddany jest naprężeniom spowodowanym znacznymi różnicami temperatur. W lecie okładzina podłogowa (zwłaszcza ta w ciemnym kolorze) znajdująca się w pełnym słońcu potrafi nagrzać się do temperatury rzędu 70÷80oC. Wystarczy następnie np. burza lub nawet nieco chłodniejsza noc, aby temperatura płytek spadła do kilkunastu stopni Celsjusza. Daje to w ciągu relatywnie krótkiego czasu zmianę temperatury o kilkadziesiąt stopni, co w konsekwencji powoduje zwiększone naprężenia termiczne. Przy braku odpowiednio wykonstruowanych dylatacji, lub przy zastosowaniu nieodpowiedniego (mało elastycznego) kleju do płytek - pojawienie się, w najlepszym razie, tylko mikropęknięć jest niemal pewne.
|

|
| Powyższe zdjęcia pokazują skutki złego wykonstruowania (a raczej braku) dylatacji obwodowych. Złe uszczelnienie dylatacji powoduje wręcz idealną, oczywiście z punktu widzenia wody, sytuację do dalszej penetracji w głąb podłoża. |
3. Sposób osadzenia barierek oraz mocowania obróbek blacharskich
Nieuszczelnienie miejsca osadzenia np. dodatkowym kołnierzem wtopionym w izolację podpłytkową oraz silikonem na poziomie wierzchu płytek doprowadza wodę pod izolację, bezpośrednio do warstwy jastrychu podkładowego. Podobny efekt daje złe wykonstruowanie obróbek blacharskich.
Z podanych wyżej powodów nie sprawdziło się stosowane u nas powszechnie rozwiązanie typu: okładzina ceramiczna, jastrych, izolacja z papy. Woda wnika przez fugi i mikropęknięcia w jastrych i zatrzymuje się na warstwie izolacji. W zimie, zamarzając rozsadza jastrych i powoduje odspojenia płytek. W lecie, na skutek działania podwyższonej temperatury, próbuje pod postacią pary wodnej wydostać się na zewnątrz, powodując na powierzchni fug wykwity.

Generalnie istnieją dwa, pokazane poniżej, rozwiązania uszczelnień tarasów.
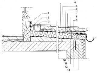
1. Rozwiązanie z podpłytkowym uszczelnieniem przeciwwodnym z elastycznej mikrozaprawy uszczelniającej. Istotą tego rozwiązania jest niedopuszczenie do penetracji wilgoci i wody w głąb jastrychu. Warto zwrócić uwagę, że bezpośrednio pod jastrychem znajduje się uszczelnienie przeciwwodne typu ciężkiego, np. dwie warstwy papy termozgrzewalnej. Poniżej znajduje się natomiast termoizolacja, która bezwzględnie musi być zabezpieczona od spodu paroizolacją zapobiegającą wnikaniu pary wodnej z pomieszczeń znajdujących się pod tarasem.
 |
| Przykład prawidłowego rozwiązania konstrukcyjnego uszczelnienia tarasu - wariant z uszczelnieniem podpłytkowym (tzw. zespolonym lub alternatywnym)
1. Obróbka blacharska progu drzwiowego
2. Obróbka blacharska
3. Taśma uszczelniająca
4. Okładzina ceramiczna na kleju typu "flex"
5. Elastyczna mikrozaprawa uszczelniająca
6. Jastrych
7. Warstwa ochronna
8. Uszczelnienie przeciwwodne (np. 2×papa termozgrzewalna)
9. Termoizolacja
10. Termoizolacja
11. Paroizolacja
12. Jastrych spadkowy na warstwie sczepnej
13. Płyta konstrukcyjna
|
2. W rozwiązaniu założono dwupoziomowe odprowadzenie wody - po powierzchni tarasu oraz po warstwie uszczelniającej - na skutek zastosowania pod jastrychem maty drenażowej. Uzupełnieniem systemu są przydrzwiowe kratki wpustowe oraz osłonowe profile boczne.
 |
| Przykład prawidłowego rozwiązania konstrukcyjnego uszczelnienia tarasu - wariant z matą drenażową
1. Obróbka blacharska progu drzwiowego
2. Obróbka blacharska
3. Kratka
4. Okładzina ceramiczna na kleju typu "flex"
5. Jastrych
6. Warstwa ochronna wodoprzepuszczalna
7. Warstwa drenująca
8. Uszczelnienie przeciwwodne (np. 2×papa termozgrzewalna)
9. Balik drewniany
10. Termoizolacja
11. Paroizolacja
12. Jastrych spadkowy na warstwie sczepnej
13. Płyta konstrukcyjna
|
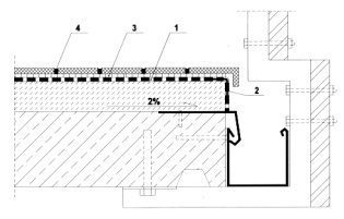
Na balkonach wystarczające jest rozwiązanie pokazaneponiżej. Polega ono na wykonaniu na warstwie jastrychu warstwy uszczelniającej z elastycznej mikrozaprawy, na której wykonujemy okładzinę ceramiczną.
 |
| Przykład prawidłowego rozwiązania konstrukcyjnego uszczelnienia balkonu
1. Obróbka blacharska
2. Taśma uszczelniająca
3. Okładzina ceramiczna na kleju typu "flex"
4. Elastyczna mikrozaprawa uszczelniająca
5. Jastrych zespolony na warstwie sczepnej
6. Płyta konstrukcyjna balkonu
|
Postaram się wymienić podstawowe zasady wykonywania robót izolacyjno-wykończeniowych. Należy do nich:
- Spadek powierzchni rzędu 2% (absolutne minimum to 1%)
Jeśli nie zapewnia go samo wykonanie płyty, należy go wykonstruować wykonując bezpośrednio na płycie warstwę spadkową, zespoloną z podłożem, tzn. warstwę spadkową należy wykonać na warstwie sczepnej, zabezpieczającej wylewkę przed zerwaniem przyczepności z pracująca płytą tarasu lub balkonu.
- Rozstaw dylatacji 2÷5m
W zależności od koloru okładziny oraz lokalizacji tarasu (nasłonecznienie, zadaszenie itp.); szerokość dylatacji powinna wynosić przynajmniej 10mm.
- Jastrych spełniający wymagania podane w tabeli poniżej
|
Rodzaj jastychu
|
Minimalna wytrzymałość na ściskanie [MPa]
|
Minimalna grubość jastrychu [cm]
|
|
zespolony
|
20
|
3
|
|
na warstwie rozdzielającej
|
20
|
5
|
|
na warstwie ocieplającej
|
20
|
5,5
|
Przy większych powierzchniach warstwa jastrychu może być dodatkowo zbrojona. Jastrych nie powinien być natomiast warstwą spadkową.
Podkreślić należy, że absolutnie niewystarczające jest, spotykane niestety w praktyce, wykonywanie wylewki grubości 2,5÷3cm.
- Powłokę uszczelniającą należy ułożyć także na ścianie, do wysokości przynajmniej 15 cm powyżej poziomu płytek.
- Odpowiednie wykonstruowanie i uszczelnienie dylatacji
- Zastosowanie płytek o odpowiedniej odporności powierzchniowej (czyli twardości i ścieralności), nasiąkliwości i mrozoodporności.
Uwaga: nie zawsze deklaracja mrozoodporności jest jednoznaczna z przydatnością płytki do stosowania na zewnątrz na balkonach czy tarasach. Istnieją dwie normy mówiące o badaniach płytek na mrozoodporność. "PN-EN 202 Płytki i płyty ceramiczne. Oznaczanie mrozoodporności", która przewiduje wykonanie 50 cykli zamarzania i odmarzania w temperaturze -150C÷+150C. Druga z norm, PN-ISO 10545-12 wymaga przeprowadzenia 100 cykli w temperaturze -50C÷+50C. Co to oznacza? Po pierwsze - deklaracje zgodności z tymi dwiema normami nie są ze sobą porównywalne, tzn., że płytki deklarowane jako mrozoodporne wg PN-EN 202 wcale nie muszą być mrozoodporne wg PN-ISO 10545-12. Właściwe więc wydaje się stosowanie płytek deklarowanych jako mrozoodporne wg PN-ISO 10545-12. Warto zauważyć, że wytyczne niemieckie [Belagkonstruktionen mit Fliesen und Platten ausserhalb von Gebauden - ZDB Merkblatt - VIII.2002] wymagają deklaracji mrozoodporności określonej właśnie na podstawie normy DIN EN ISO 10545-12.
W praktyce najlepiej sprawdzają się płytki ceramiczne prasowane, względnie ciągnione, o niskiej nasiąkliwości wodnej (<0,5).
- Stosowanie odpowiednich zapraw klejowych
W chwili obecnej wymagania dotyczące zapraw klejowych do okładzin ceramicznych precyzuje norma "PN-EN 12004 Kleje do płytek. Definicje i wymagania techniczne". Nie mają wiec racji bytu wydawane wcześniej przez ITB aprobaty techniczne, chociaż porównanie wymagań stawianych przez te dwa, jakby nie było różne dokumenty, wydaje się być dość ciekawe, jednak wykraczałoby to poza zakres niniejszego artykułu. To, co najważniejsze - do wykonywania okładzin ceramicznych na balkonach i tarasach należy stosować zaprawy klasy C2, charakteryzujące się przyczepnością do podłoża nie niższą niż 1MPa, także po cyklach zamarzania i rozmrażania. Zaprawa klejowa stosowana na tarasach i balkonach powinna także spełniać wymagania normy "EN DIN 12002 - Moertel und Kleber fuer Fliesen und Platten. Bestimmung der Verformung zementhaeltiger Moertel und Fugen" w zakresie odkształcalności kleju - ugięcie próbki musi wynosić przynajmniej 2,5mm. Te wysokie wymagania w stosunku do zaprawy klejowej mają swoje uzasadnienie. Temperatura powierzchni płytek, zwłaszcza ciemnych (dosyć często stosowanych, choć nie jest to zalecany kolor na powierzchnie tak narażone na obciążenia termiczne), dochodzić może podczas letnich upałów nawet do 70÷80oC, natomiast nagła burza z opadami deszczu potrafi w kilkanaście minut "szokowo ostudzić" powierzchnię do temperatury kilkunastu stopni. W zimie dochodzą do tego wcale niemałe obciążenia wynikające "z przejść przez zero". Tylko odpowiednio modyfikowana i elastyczna zaprawa klejowa jest w stanie przenieść tego typu obciążenia.
Bezwzględnie wymagane jest ułożenie płytek w sposób zapewniający pełne pokrycie spodu płytki warstwą kleju.
Powinny być osadzone w sposób uniemożliwiający powstawanie szczelin i rys w miejscu osadzenia i dodatkowo uszczelnione kołnierzem wtopionym w zaprawę uszczelniającą oraz np. uszczelniaczem silikonowym (przy okładzinie ceramicznej). patrz rys nr 12 i 13.
 |
Przykładowy detal okapu - balkon remontowany
- reprofilacja krawędzi i detali
- elastyczna mikrozaprawa uszczelniająca
- klej typu "flex" (elastyczny)
- zaprawa spoinująca (elastyczna - balkonowa)
- elastyczne uszczelnienie (np. na bazie poliuretanów lub uszczelniacz silikonowy)
- zaprawa montażowa
- wkładka uszczelniająca
- słupek barierki
|
Zawsze należy je wykonywać z materiałów nie ulegających korozji. Muszą być osadzone w sposób nie powodujący dodatkowych naprężeń termicznych oraz uniemożliwiający zalewanie wodą czoła balkonu czy tarasu.
 |
Przykładowy detal okapu - balkon remontowany
- elastyczna mikrozaprawa uszczelniająca
- wkładka wzmacniająca
- klej typu "flex" (elastyczny)
- zaprawa spoinująca (elastyczna - balkonowa)
|