Próba kalkulacji kosztorysowej bez zapoznania się z technologią to główne zaniedbanie kosztorysanta. Ale konkretne rozwiązanie technologiczno-materiałowe to jedna rzecz, druga to znajomość przez kosztorysanta zasad wykonywania kalkulowanych robót. Jest to niestety wymóg trudny do spełnienia, ale przy obecnej różnorodności dostępnych materiałów bezwzględnie konieczny. Same katalogi nie mogą być podstawą do kalkulacji. Natomiast mogą one, o ile są opracowane w sposób przemyślany, dostarczyć w części opisowej podstawowych informacji na temat technologii. Z satysfakcją należy zauważyć, że takich katalogów jest coraz więcej. Są to przede wszystkim katalogi z serii AT (AT-12, AT-22, AT-23, AT-24, AT-25, AT-26, AT-27, AT-33, AT-40, AT-41), katalog KNR SEK-03-01 oraz katalogi serii BC (BC-01, BC-02, BC-03, BC-04, BC-05).
Brak znajomości nowoczesnych technologii skutkuje też opinią (nie do końca słuszną) o wysokich kosztach wykonywania prac z ich zastosowaniem. Wynika to z faktu, że podstawowym problemem, podnoszonym przez inwestorów są koszty. To prawda, prace hydroizolacyjne nie należą do tanich, jednakże skutki zaniechania ich wykonywania są często dużo bardziej kosztowne. Bardzo poważne i nieciekawe następstwa może mieć także zmiana opracowanej technologii. Dzieje się tak na skutek żądań i nacisków inwestora, który liczy w tym miejscu na (pozorne) oszczędności. Często jest to również inwencja wykonawcy, który np. w kosztorysie źle skalkulował koszt robót i szuka teraz oszczędności, co przy braku fachowego nadzoru nie jest takie trudne. To wreszcie „radosna twórczość” inwestorów, którzy „prace hydroizolacyjne” wykonują na własną rękę.
Środki finansowe marnotrawione są przede wszystkim w obiektach, w których przeprowadzenie prac wymaga spełnienia wymogów ustawy Prawo zamówień publicznych. Tam jedynym kryterium jest cena. Nie ma pieniędzy na przyzwoite opracowanie dokumentacji; przetargi wygrywane są za najniższą cenę; projekt jest „dokumentacją” tylko z nazwy; dobrze opracowany (tzn. z detalami i szczegółami) projekt wykonawczy to prawdziwy „biały kruk”.
Czy rzeczywiście nowe technologie są dużo droższe? Warto przeanalizować na dwóch konkretnych przykładach, jakie są różnice w kosztach przy wykonywaniu prac z zastosowaniem najtańszej technologii i z zastosowaniem nowoczesnych materiałów hydroizolacyjnych.
Przykład 1 - taras
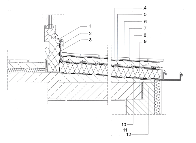
Poprawny, typowy układ warstw takiego tarasu pokazano na rysunku jn.
 |
| Przykład rozwiązania konstrukcyjnego uszczelnienia tarasu – wariant z powierzchniowym odprowadzeniem wody (uszczelnienie podpłytkowe) – rysunek z Außenbeläge. Belagkonstruktionen mit Fliesen und Platten außerhalb von Gebäuden, ZDB VII.2005
- Obróbka blacharska progu drzwiowego (okapnik)
- Obróbka blacharska
- Taśma uszczelniająca
- Okładzina ceramiczna na kleju klasy C2 S1
- Elastyczna mikrozaprawa uszczelniająca
- Jastrych
- Warstwa ochronna
- Bitumiczna izolacja przeciwwodna (np. membrana samoprzylepna)
- Termoizolacja
- Paroizolacja
- Jastrych spadkowy na warstwie sczepnej
- Płyta konstrukcyjna
|
Proszę zwrócić uwagę na warstwy nr (5) oraz (8). Jest to odpowiednio: izolacja podpłytkowa oraz izolacja międzywarstwowa tarasu. Funkcją pierwszej jest zabezpieczenie jastrychu dociskowego przed wnikaniem wody; funkcją drugiej jest natomiast zabezpieczenie warstw konstrukcji przed zawilgoceniem, gdy uszkodzeniu ulegnie izolacja podpłytkowa. Często spotyka się sytuację, że pomija się izolację międzywarstwową (zamiast niej wykonuje się warstwę rozdzielającą np. z folii PE). Wówczas jej funkcję przejmuje izolacja podpłytkowa. Zatem dopuszczalne jest pominięcie izolacji międzywarstwowej (8), niedopuszczalne natomiast jest pominięcie uszczelnienia zespolonego (5). A taki błąd najczęściej jest popełniany. Argument jest zawsze jeden: cena. Czy jednak rzeczywiście?
Ciekawie wygląda porównanie kosztów wariantów poprawnych z wariantami błędnymi. Do kalkulacji przyjęto następujące układy warstw (od góry):
wariant poprawny P I
- płytki gresowe na kleju klasy C2 S1
- uszczelnienie zespolone z elastycznego szlamu
- jastrych dociskowy gr. 5 cm o wytrzymałości na ściskanie 20 MPa
- hydroizolacja międzywarstwowa: dwie warstwy papy termozgrzewalnej, pierwsza – ułożona luzem, druga – zgrzana do pierwszej
- termoizolacja – płyty styropianowe z frezowanymi brzegami klasy EPS 250 i grubości 15 cm
- paroizolacja z roztworu bitumicznego
- płyta konstrukcyjna stropu gr. 15 cm – beton klasy C16/20 (B20)
- tynk tradycyjny
- farba akrylowa
wariant poprawny P II
- płytki gresowe na kleju klasy C2 S1
- uszczelnienie zespolone z elastycznego szlamu
- jastrych dociskowy gr. 5 cm o wytrzymałości na ściskanie 20 MPa
- warstwa rozdzielająca – folia PE
- termoizolacja – płyty styropianowe z frezowanymi brzegami klasy EPS 250 i grubości 15 cm
- paroizolacja z roztworu bitumicznego
- płyta konstrukcyjna stropu gr. 15 cm – beton klasy C16/20 (B20)
- tynk tradycyjny
- farba akrylowa
wariant błędny B I
- płytki gresowe na kleju klasy C2 S1
- jastrych dociskowy gr. 5 cm o wytrzymałości na ściskanie 20 MPa
- warstwa poślizgowa – folia PE
- hydroizolacja międzywarstwowa: dwie warstwy papy termozgrzewalnej
- termoizolacja – płyty styropianowe z frezowanymi brzegami klasy EPS 250 i grubości 15 cm
- paroizolacja z roztworu bitumicznego
- płyta konstrukcyjna stropu gr. 15 cm – beton klasy C16/20 (B20)
- tynk tradycyjny
- farba akrylowa
wariant błędny B II
- płytki gresowe na kleju klasy C2 S1
- jastrych dociskowy gr. 5 cm o wytrzymałości na ściskanie 20 MPa
- warstwa poślizgowa – folia PE
- hydroizolacja – 3x papa asfaltowa na lepiku
- termoizolacja – płyty styropianowe z frezowanymi brzegami klasy EPS 250 i grubości 15 cm
- paroizolacja z roztworu bitumicznego
- płyta konstrukcyjna stropu gr. 15 cm – beton klasy C16/20 (B20)
- tynk tradycyjny
- farba akrylowa
Analizę kosztów przeprowadzono dla typowego tarasu o prostokątnym kształcie i wymiarach 2x3 m, z obróbkami z blachy powlekanej i jednej dylatacji strefowej (w połowie długości tarasu) o szerokości 10 mm wypełnionej masą silikonową. Pokazuje ją tablica 1 (plik PDF).
W wariancie B I brakuje izolacji podpłytkowej. Jest to niestety dość często popełniany błąd. Nawet gdy na izolację międzywarstwową zastosuje się dobrej jakości modyfikowaną polimerami papę, dochodzi przede wszystkim do destrukcji wyżej położonych warstw (jastrychu i okładziny) na skutek wnikania wody przez spoiny, a jakakolwiek rysa (mikropęknięcie) znacznie ułatwia wodzie penetrację w głąb warstw. Woda ta oczywiście zatrzyma się na poziomie papy termozgrzewalnej, ale nie ma możliwości wydostania się z konstrukcji. Cykle zamarzania i rozmrażania (przejść przez zero w ciągu jesieni-zimy-wiosny może być ponad 200) dopełniają reszty.
Dla wariantu B II hydroizolacja może przestać istnieć nawet w ciągu kilkunastu miesięcy. Tradycyjny lepik przestaje być elastyczny już w temperaturze +7ºC (nie wspominając o ujemnych temperaturach), a jeżeli zastosowano dodatkowo papę na osnowie tekturowej (która w ogóle nie nadaje się do wykonywania powłok chroniących nie tylko przed wodą, ale i przed wilgocią) jej osnowa zgnije po kilku miesiącach oddziaływania wilgoci.
Wynik jest dość zaskakujący. Okazuje się, że kompletnie niepoprawne rozwiązanie (wariant B II) jest tańsze od poprawnego wariantu P II jedynie o 100 zł, czyli o niecałe 17 zł/m2 (!!!). Argument o znacznie droższym rozwiązaniu z zastosowaniem szlamu jest zatem nieprawdziwy; pokutuje jeszcze niestety pogląd, że nowoczesne technologie są bardzo drogie. Kosztowna może być jednak bezmyślność (lub bezkrytyczna wiara w wysokie koszty nowych technologii), gdyż prace naprawcze są zawsze dużo droższe.
Przykład 2 – hydroizolacja przyziemia budynku
Wspomniany budynek jest jednokondygnacyjnym obiektem użyteczności publicznej (świetlicą), wykonanym w konstrukcji tradycyjnej murowanej oraz częściowo drewnianej. Strop wykonano jako drewniany, pełny, na belkach; dach drewniany kryty papą na pełnym deskowaniu. Powierzchnia użytkowa wspomnianego budynku to niecałe 71 m2, całkowita 88 m2, kubatura 369 m3. Budynek w obrysie nie przekracza wymiarów 16x7 m. Inwestor postanowił zwiększyć funkcjonalność i rozbudować ww. świetlicę, ale w sposób jak najmniej ingerujący w konstrukcję. Dlatego w istniejącym budynku z ważniejszych prac wymienić należy wykucie otworu pod drzwi oraz zamurowanie kilku okien.
Powierzchnia użytkowa części dobudowywanej wynosi 289 m2, całkowita 306 m2, kubatura 722 m3. Schody oraz pochylnie pozwalające na korzystanie z obiektu przez osoby niepełnosprawne zajmują ok. 28 m2. Wymiary nowej części nie przekraczają 20x16 m, przy wysokości budynku rzędu 4,5 m. Sama konstrukcja została zaprojektowana jako tradycyjna, niepodpiwniczona, na żelbetowych ławach, ściany fundamentowe zaprojektowano z bloczków betonowych, ściany zewnętrzne gr. 25 cm – murowane z pustaków Porotherm z dociepleniem styropianem gr. 12 cm (wyprawą elewacyjną był kolorowy tynk mineralny), ściany wewnętrzne zaprojektowano jako drewniane słupkowe z wypełnieniem wełną mineralną. Na ściany działowe zastosowano cegłę kratówkę. Dach nad częścią nową zaprojektowano o konstrukcji drewnianej krokwiowo-płatwiowej, pokrytej blachą trapezową na pełnym deskowaniu z ociepleniem z wełny mineralnej o gr. 20 cm.
Budynek nie posiadał piwnicy, a hydroizolacje poziome fundamentów wykonano z papy na lepiku, pionowe z Abizolu, natomiast izolacje podposadzkowe z folii.
Na warstwy wykończeniowe przewidziano tradycyjne tynki i wymalowania. Stolarka typowa - z PCW. Ze względu na wymagane zabezpieczenia ogniochronne drewniane słupy nośne (oparte na stopach fundamentowych) zabezpieczono ogniochronnym systemem z płyt GK oraz zamontowano okno o klasie EI 30.
Koszt robót i ich udział w końcowej wartości pokazano w tablicach 2 i 3 (plik PDF). Widać wyraźnie, że dla tego konkretnego obiektu wartość robót hydroizolacyjnych to niecałe 2% ogólnej wartości robót. Zamiana papy na lepiku i Abizolu na nowoczesne masy KMB i szlamy spowodowała wzrost ogólnej wartości robót o niecałe 2.600 zł (!!!). Większy wzrost kosztów spowodowała zamiana folii na masę KMB (o prawie 9.100 zł), ale folię trudno traktować jako hydroizolację. Reasumując, zastosowanie nowoczesnych technologii hydroizolacyjnych spowodowałoby wzrost całkowitych kosztów dokładnie o 11.666,82 zł, tj. o niecałe 2,9%. Przykład ten nie będzie oczywiście miarodajny dla każdej sytuacji, pokazuje jednak, że wzrost kosztów dla przeciętnych budynków nie musi być znaczny.