Przyczyn uszkodzeń balkonów można wymienić przynajmniej kilkanaście (zbyt mała szerokość spoin, za duży wymiar płytek, złe wykonstruowanie dylatacji, zastosowanie niewłaściwych materiałów, zły układ warstw, złe obsadzenie obróbek), dlatego uszkodzenia balkonów nie ograniczają się niestety tylko do przecieków i odpadania płytek. Próba naprawy poprzez ponowne przyklejenie płytek lub wykonanie na istniejącej okładzinie hydroizolacji ze szlamu oraz wykonanie nowej okładziny wcale nie musi przynieść oczekiwanego efektu. W większości przypadków konieczne jest usunięcie wszystkich warstw aż do płyty konstrukcyjnej.
 |
 |
| zdjęcia 1, 2 – Zaawansowane uszkodzenia brzegów płyty konstrukcyjnej na skutek działania mrozu i wody (fot. autor) |
 |
 |
| zdjęcia 3, 4 – Uszkodzenia okładziny w strefie okapu na skutek złego zamocowania obróbki (fot. autor) |
 |
 |
| zdjęcie 5 – Skutek braku uszczelnienia podpłytkowego (fot. autor) |
zdjęcie 6 – Taki wygląd pierwszego etapu robót nie wróży pozytywnego ostatecznego efektu (fot. autor) |
Naprawę płyty balkonowej należy zacząć od mechanicznego usunięcia zniszczonego i skarbonatyzowanego betonu (za pomocą młotków, przecinaków, młotów pneumatycznych itp.). Skorodowane pręty zbrojeniowe należy starannie oczyścić metalowymi szczotkami. Na oczyszczonych prętach nie powinno być śladów rdzy.
Przeznaczoną do reprofilacji powierzchnię należy ponadto oczyścić z kurzu, pyłu, luźnych i niezwiązanych cząstek. Można to zrobić za pomocą sprężonego powietrza oraz wody pod ciśnieniem.
Reprofilację/naprawę płyty balkonowej należy wykonać polimerowo-cementowymi zaprawami naprawczymi PCC. Jest to system składający się z zaprawy do antykorozyjnego zabezpieczenia zbrojenia, wykonania warstwy sczepnej (niekiedy te dwie zaprawy oferowane są jako jedna, służąca do obu celów), zaprawy naprawczej i szpachli wygładzającej. Wytrzymałość zaprawy naprawczej musi być porównywalna z klasą betonu płyty nośnej.
zdjęcia 7÷10 – Naprawa podłoża żelbetowego (fot. Weber Deitermann)
 |
 |
| zdjęcie 7 – Zbrojenie zabezpieczone antykorozyjnie |
zdjęcie 8 – Wykonywanie warstwy sczepnej |
 |
 |
| zdjęcie 9 – Właściwa reprofilacja |
zdjęcie 10 – Element naprawiony i zabezpieczony farbą ochronną |
Odkryte zbrojenie należy zabezpieczyć systemową zaprawą antykorozyjną. Oczyszczony pręt pokrywa się taką zaprawą zazwyczaj dwukrotnie, druga warstwa jest nakładana po wyschnięciu pierwszej. Należy to robić bardzo starannie i dokładnie, zwłaszcza gdy pręt jest odsłonięty po obwodzie. Jeżeli nie jest on całkowicie odsłonięty, to partie betonu, które graniczą z prętami zbrojeniowymi, powinny zostać pomalowane na szerokości 1-2 cm.
Po naniesieniu i związaniu zaprawy do antykorozyjnego zabezpieczenia zbrojenia, naprawiane podłoże betonowe należy zwilżyć do stanu matowo-wilgotnego i za pomocą pędzla lub szczotki wetrzeć zaprawę do wykonywania warstwy sczepnej. Musi ona całkowicie pokrywać podłoże, tworząc ciągłą warstwę. Jeżeli zabezpieczenie antykorozyjne i warstwa sczepna wykonywana jest z tej samej zaprawy, zalecaną metodą jest zabezpieczenie zbrojenia w osobnym przejściu, i następnie wykonanie warstwy sczepnej w sposób opisany powyżej.
Zaprawę naprawczą należy nanosić z użyciem nacisku, dobrze ją zagęszczając, drewnianą packą tynkarską lub kielnią, nie dopuszczając do powstania pustek powietrznych. Każdorazowo winna być pokrywana tak mała powierzchnia, aby możliwe było nanoszenie warstwy zawsze na świeżą warstwę sczepną - warstwa sczepna i zaprawa wypełniająca ubytek powinny być przygotowywane jednocześnie. Ubytki, w zależności od głębokości, mogą być naprawiane w jednym lub kilku procesach roboczych. Ubytki o głębokości do 2-3 cm naprawia się w jednym przejściu, głębsze w dwóch cyklach roboczych. Pierwszą warstwę zaprawy naprawczej nakłada się na warstwę sczepną, kolejne natomiast można nakładać zazwyczaj w kilkugodzinnych odstępach (już bez warstwy sczepnej między poszczególnymi warstwami tej samej zaprawy naprawczej).
Na tym etapie należy zadbać o stabilne obsadzenie słupków balustrad (najlepiej, gdy są one mocowane do czoła i boków balkonu; unika się w tym przypadku przebijania warstwy hydroizolacyjnej). W większości przypadków są one jednak mocowane „od góry”. Trzeba wówczas sprawdzić stabilność zamocowania. Jakakolwiek niestabilność (szczelina) może skutkować wnikaniem wody i destrukcją betonu płyty. Barierki powinno się w takim przypadku obsadzać na zaprawę epoksydową (lub klej epoksydowy), w ostateczności na bezskurczową (lub nawet pęczniejącą) zaprawę PCC.
 |
Rys.1 – Uszczelnienie okapu. Ten sposób mocowania balustrady nie powoduje przebicia warstwy hydroizolacyjnej (rys. autor)
- Okładzina ceramiczna
- Klej typu „flex”
- Fuga balkonowa (szerokość min. 5 mm)
- Zaprawa uszczelniająca
- Warstwa spadkowa
- Warstwa sczepna
- Płyta balkonowa
- Taśma uszczelniająca
- Elastyczny uszczelniacz (nakładany zawsze po zagruntowaniu powierzchni)
- Obróbka blacharska okapu
- Pianka montażowa
- Wkręty nierdzewne mocujące obróbkę (co 50 cm)
- Wymalowanie ochronne płyty balkonowej
- Balustrada
|
Kolejnym etapem jest wykonanie warstwy spadkowej (o ile płyta konstrukcyjna nie jest wykonana ze spadkiem). Warstwa spadkowa musi być wykonana na warstwie sczepnej. Najlepszym materiałem są gotowe masy przeznaczone do tego celu. Cechują się one odpowiednią mrozodpornością, wysoką wytrzymałością i niskim skurczem. Można je układać w warstwie już od 10 mm. Ich wytrzymałość na ściskanie powinna wynosić ok. 20 MPa.
Innym rozwiązaniem jest zastosowanie gotowych zapraw PCC (takich samych, jak do reprofilacji i naprawy płyty). Jest to rozwiązanie niewątpliwie drogie, tym niemniej jego zaletą jest krótki czas wiązania oraz szybki przyrost wytrzymałości, niski skurcz i możliwość wykonywania dalszych robót już po 2-3 dniach.
Ostatecznością (i to tylko przy grubości warstwy spadkowej w najcieńszym miejscu rzędu 30 mm) jest wykonywanie warstwy spadkowej z betonu modyfikowanego wodną dyspersją kopolimerów tworzyw sztucznych lub z dodatkiem plastyfikatorów.
Warstwę sczepną wykonuje się albo z dedykowanej temu zastosowaniu zaprawy PCC albo przygotowuje się mieszaninę wody i dyspersji tworzyw sztucznych (emulsję polimerową) – zazwyczaj na bazie butadienu-styrenu i zarabia się nią kruszywo z cementem lub gotową suchą zaprawę.
Spadek balkonu powinien wynosić 1,5 - 2% (absolutne minimum to 1%).
Następnym etapem jest zamocowanie obróbek blacharskich okapu za pomocą nierdzewnych kotew. Jeżeli obróbka zachodzi pod płytkę, to na maksimum 5-6 cm. Zastosowanie szlamu jako uszczelnienia zespolonego wymusza ponadto wcześniejsze antykorozyjne zabezpieczenie obróbki blacharskiej wykonanej np. z blachy ocynkowanej. Stosuje się do tego najczęściej żywice epoksydowe. Po nałożeniu żywicy (ale przed jej związaniem) wykonuje się posypkę z piasku do żywic o uziarnieniu np. 0,2-0,7 mm (dobrze jest w tym celu wcześniej skonsultować się z producentem mikrozaprawy uszczelniającej). Obróbki z blachy powlekanej także wymagają identycznego zabezpieczenia. Przyczepność szlamu do powierzchni z tworzywa sztucznego może być zarówno bardzo dobra jak i zła, a podane powyżej rozwiązanie zapewnia odpowiednie zespolenie hydroizolacji z obróbką.
Do wykonania uszczelnienia balkonu stosuje się elastyczne mikrozaprawy, zwane także szlamami. Jest to warstwa odpowiadająca za niedopuszczenie do infiltracji wód opadowych w głąb konstrukcji. Jest to podstawowa przyczyna, dla której nie sprawdził się tradycyjny sposób uszczelnienia, polegający na wykonaniu (patrząc od góry) okładziny ceramicznej ułożonej bezpośrednio na warstwie jastrychu, gdzie izolacją były warstwy papy, dla których jastrych stanowił warstwę dociskową i ochronną. Jeżeli taka właśnie sytuacja występuje na naprawianym balkonie, konieczne jest usunięcie wszystkich warstw do płyty konstrukcyjnej lub warstwy spadkowej i wykonanie prac zgodnie z poniższym rysunkiem.

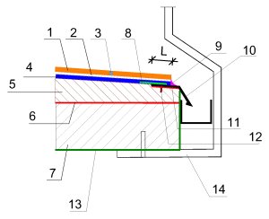
Rys.2 – Uszczelnienie balkonu - rozwiązanie z podpłytkowym (zespolonym) uszczelnieniem przeciwwodnym z elastycznej mikrozaprawy uszczelniającej
(wg – Außenbeläge. Belagkonstruktionen mit Fliesen und Platten außerhalb von Gebäuden, ZDB VII.2005)
- Obróbka blacharska
- Taśma uszczelniająca
- Okładzina ceramiczna na kleju typu „flex”
- Elastyczna mikrozaprawa uszczelniająca (uszczelnienie zespolone)
- Jastrych zespolony na warstwie sczepnej (warstwa spadkowa)
- Płyta konstrukcyjna balkonu
Niedocenianym zagadnieniem, a mogącym mieć wpływ na najważniejszą cechę wykładziny, jest dobór odpowiedniego rodzaju płytek. Znane są mi sytuacje, gdy na balkony czy tarasy stosowano bardzo drogie płytki włoskie czy hiszpańskie, które po pierwszej zimie nadawały się do zdjęcia. Najgroźniejsze są cykle zamarzania i odmarzania (przejścia przez zero) w połączeniu z obecnością wody. W krajach śródziemnomorskich klimat jest wyraźnie łagodniejszy, dlatego okładziny sprawdzające się w tamtych warunkach, w wielu przypadkach nie sprawdzą się w naszym klimacie.
Płytki na balkon muszą cechować się przede wszystkim niską nasiąkliwością. Dla najczęściej stosowanych płytek gresowych nasiąkliwość nie przekracza 0,5%. Jeżeli stosowane są inne płytki, muszą być mrozoodporne zgodnie z PN-EN ISO 10545-12:1999 Płytki i płyty ceramiczne – Oznaczanie mrozoodporności. W praktyce najlepiej sprawdzają się płytki prasowane klasy BIa oraz BIb jak również płytki ciągnione klasy AIa lub AIb – zgodnie z PN-EN 14411:2009 Płytki ceramiczne – Definicje, klasyfikacja, charakterystyki i znakowanie.
Do klejenia płytek (zawsze na pełne podparcie) stosuje się kleje klasy C2 wg PN-EN 12004:2008 Kleje do płytek - Wymagania, ocena zgodności, klasyfikacja i oznaczenie – których odkształcalność poprzeczną sklasyfikowano jako S2 (kleje o wysokiej odkształcalności) lub S1 (kleje odkształcalne). Grubość warstwy kleju wynosi 3-5 mm, z czego wynika minimalne zużycie kleju na poziomie 4,5 kg/m2.
Wielkość płytek nie powinna przekraczać 33x33 cm.
Szerokość spoin nie może być mniejsza niż 5 mm (niezależnie od wymiarów płytek; natomiast dla płytek 30x30 cm powinna ona wynosić 7-8 mm). Do spoinowania natomiast należy stosować tylko dedykowane balkonom (lub tarasom) cementowe zaprawy spoinujące, o zmniejszonej absorpcji wody i wysokiej odporności na ścieranie, a więc klasyfikowane jako CG 2 W A lub CG 2 W wg PN-EN 13888:2010 Zaprawy do spoinowania płytek – Wymagania, ocena zgodności, klasyfikacja i oznaczenie.
Dylatacje strefowe i brzegowe uszczelnia się wtapiając w szlam specjalne taśmy uszczelniające. Rozstaw i szerokość dylatacji strefowych powinna wynosić odpowiednio: - maksimum 2 m i - minimum 10 mm. Do wypełnienia stosuje się elastyczne masy na bazie silikonów lub poliuretanów.
Chciałbym w tym miejscu jeszcze raz przestrzec przed próbami napraw (uszczelnień) balkonów bez dokładnego określenia przyczyn uszkodzenia. Może się bowiem okazać, że ułożona na starej okładzinie powłoka hydroizolacyjna i nowa okładzina będzie jednak musiała zostać zdjęta, wraz ze starymi płytkami, a my niepotrzebnie stracimy zarówno czas, jak i pieniądze.
 |
 |
| Przykładowy kosztorys na remont balkonu |