O tarasach pisałem już w BzG nr 2/2010 i 1/2012, ale teraz chciałbym omówić przypadek szczególny, gdzie nałożyło się na siebie kilka rodzajów błędów. Na skutek braku uszczegółowienia detali i błędu wykonawczego polegającego na wykonaniu zbyt grubej płyty konstrukcyjnej pozostało za mało miejsca na warstwy konstrukcji tarasu.
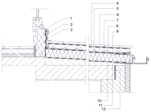
Zapewnienie odpowiedniej termoizolacyjności wymagało zaprojektowania niekonwencjonalnego rozwiązania pozwalającego wyeliminować jastrych dociskowy oraz wykonać dodatkową warstwę termoizolacyjną od strony pomieszczenia. Materiały dobrano na podstawie analizy cieplno-wilgotnościowej tak, aby wyeliminować ryzyko wystąpienia kondensacji wilgoci w warstwach konstrukcji. Układ warstw przedstawiał się następująco:
- okładzina ceramiczna
- membrana T 50
- hydroizolacja z elastycznego szlamu
- warstwa zbrojąca – podwójna warstwa siatki do dociepleń
- termoizolacja – polistyren ekstrudowany gr. 2*2,5 cm z warstwą zbrojącą (siatka pancerna lub podwójna siatka do dociepleń)
- paroizolacja z papy z wkładką aluminiową
- warstwa spadkowa z zaprawy szpachlowej typu PCC
- płyta żelbetowa
- docieplenie od wewnątrz - płyty Korff Superwand DS. gr. 2 cm firmy Korff Isolmatic z warstwą paroizolacyjną
Do tego dochodziły systemowe obróbki blacharskie i orynnowanie, pozwalające na odprowadzenie wody opadowej poza połać (zaproponowane rozwiązanie jest wariantem z drenażowym odprowadzeniem wody przy warstwie użytkowej z płytek ceramicznych).
|

Rys. 1 – Okap tarasu (rys. Renoplast)
|
- płytki ceramiczne mrozoodporne
- klej elastyczny mrozoodporny klasy C2
- wypełnienie elastyczne
- membrana T50
- elastyczna taśma uszczelniająca
- elastyczny szlam uszczelniający weber.tec Superflex D2 (Weber-Deitermann)
- profil krawędziowy K50
- profil RENO WS50
- termoizolacja (polistyren ekstrudowany) z warstwą zaprawy klejowej zbrojonej siatką pancerną lub podwójną warstwą siatki do dociepleń
- paroizolacja – papa na osnowie aluminiowej Foalbit AL S40 (Icopal)
- warstwa spadkowa z zaprawy szpachlowej typu PCC
|
Warto przeanalizować zmianę kosztów wykonania warstw tarasu dla układu podanego powyżej oraz dla sytuacji pozwalającej na normalne wykonanie wszystkich warstw.
Poprawny, typowy układ warstw tarasu nad pomieszczeniem ogrzewanym z warstwą użytkową z płytek ceramicznych pokazano na rysunku poniżej.
|

Rys. 2 – Uszczelnienie tarasu nadziemnego – wariant z powierzchniowym odprowadzeniem wody – tzw. uszczelnienie zespolone [Außenbeläge. Belagkonstruktionen mit Fliesen und Platten außerhalb von Gebäuden, ZDB VII.2005]
|
- obróbka blacharska drzwi (okapnik)
- obróbka blacharska
- taśma uszczelniająca
- okładzina ceramiczna na kleju klasy C2 i elastycznym
- elastyczny szlam uszczelniający
- jastrych
- warstwa ochronna
- bitumiczna izolacja przeciwwodna
- termoizolacja
- paroizolacja
- warstwa spadkowa wykonana na warstwie sczepnej
- płyta konstrukcyjna
|
Proszę zwrócić uwagę na warstwy nr (5) oraz (8). Jest to odpowiednio: izolacja podpłytkowa oraz izolacja międzywarstwowa tarasu. Funkcją pierwszej jest zabezpieczenie jastrychu dociskowego przed wnikaniem wody, funkcją drugiej jest natomiast zabezpieczenie warstw konstrukcji przed zawilgoceniem, gdy uszkodzeniu ulegnie izolacja podpłytkowa. Często spotyka się sytuację pomijania izolacji międzywarstwowej (zamiast niej wykonuje się warstwę rozdzielającą np. z folii PE). Wówczas jej funkcję przejmuje izolacja podpłytkowa. Zatem dopuszczalne jest pominięcie izolacji międzywarstwowej (8), niedopuszczalne natomiast jest pominięcie uszczelnienia zespolonego (5). Taki wariant był pierwotnie zaprojektowany. Jako paraizolację przewidziano roztwór bitumiczny, nie było izolacji międzywarstwowej lecz warstwa rozdzielająca z folii PE, a hydroizolacją była elastyczna mikrozaprawa uszczelniająca.
Pierwotny układ warstw przedstawiał się następująco:
- płytki gresowe na kleju klasy C2 S1
- uszczelnienie zespolone z elastycznego szlamu
- jastrych dociskowy gr. 5 cm o wytrzymałości na ściskanie 20 MPa
- warstwa rozdzielająca – folia PE
- termoizolacja – płyty styropianowe klasy EPS 250 gr. 12 cm
- paroizolacja z roztworu bitumicznego
- płyta konstrukcyjna stropu – beton klasy C16/20 (B20) gr. 15 cm
- tynk tradycyjny
- farba akrylowa
Analizę kosztów (patrz – tablica 1) przeprowadzono dla wymiarów 12*3 m, z obróbkami z blachy powlekanej i dylatacjami strefowymi o szerokości 10 mm w rozstawie maksimum 2 m, wypełnionymi masą silikonową. Do pierwszej kalkulacji przyjęto średnie ceny i narzuty rynkowe. Łączny koszt wykonania pierwotnego wariantu wyniósłby prawie 17 tys. zł netto (470 zł/m²).
tabela 1
Natomiast koszt wykonania wariantu z dociepleniem od wewnątrz i drenażowym odprowadzeniem wody (dla cen katalogowych zastosowanych materiałów, pozostałe składniki cenotwórcze jak dla wariantu 1.) pokazano w tablicy 2. Oszacowano go na prawie 33 tys. zł netto (906 zł/m²).
tabela 2
Nawet uwzględniając przeciętne rabaty można tu mówić o kwocie rzędu 700-650 zł/m² netto. To obrazuje jak kosztowne mogą być skutki błędów popełnionych na etapie projektowania i wykonawstwa. I nie jest to przykład skrajny.