W obrębie jezdni większości dróg miejskich zlokalizowane są włazy kanałowe, stanowiące wejście do studni rewizyjnych lub komór podziemnych instalacji technologicznych, takich jak, kanalizacja ściekowa, odwodnieniowa, sieć ciepłownicza, telekomunikacyjna itp. Jak wszyscy to możemy zaobserwować i odczuć zdecydowana większość tych włazów nie jest właściwie usytuowana wysokościowo w stosunku do poziomu nawierzchni jezdni. Generalnie są one zapadnięte. Zapadanie się włazów jest problemem ogólnie znanym i jak dotychczas nierozwiązanym na szerszą skalę. Jest on zmorą nie tylko służb miejskich odpowiedzialnych za ich stan, ale i nas wszystkich, użytkowników dróg, kierowców, pasażerów, właścicieli pojazdów, mieszkańców. W powszechnym mniemaniu problem ten jest nierozwiązywalny i istnieje od zawsze. Ale istotne jest też, że będzie się on ciągle nasilał. Jego całkowite wyeliminowanie jest mało realne, bo związane jest ze stale rosnącymi kosztami bieżących napraw, na które nas podobno nie stać.
W zależności od klasy drogi, a co za tym idzie od dopuszczalnej czy rzeczywistej prędkości poruszających się po niej pojazdów samochodowych wielkość takiego zapadnięcia, które może grozić przykrymi skutkami jest różna. Nawet 10 mm obniżenie wierzchu pokrywy włazu zlokalizowanego w pasie drogi szybkiego ruchu może stanowić większe zagrożenie niż 30 mm obniżenie na drodze lokalnej czy ulicy osiedlowej. Ale w obu tych przypadkach sytuacja jest niedopuszczalna, wymagająca podjęcia działań naprawczych.
 |
|
 |
| zdj. 1 |
|
zdj. 2 |
Przyczyny zapadania się włazów kanałowych są bardzo złożone i w dużym stopniu nieuniknione, ale ich skutkom w części można zaradzić, stosując we właściwy sposób sprawdzone już, ale coraz kosztowniejsze nowe rozwiązania konstrukcyjno-materiałowo-technologiczne. Powszechnie znane są różne sposoby wykonania korekty wysokościowej włazów kanałowych polegające głównie na rozkuciu konstrukcji nawierzchni drogi w obszarze studni, demontażu włazu i ponownym jego ustawieniu na podmurówce lub podlewce na właściwym poziomie oraz na zabudowie warstwami nowej nawierzchni w miejsce starej (najczęściej już bardzo zniszczonej) w otoczeniu włazu. Stosowanie takiego rozwiązania to skutek tego, że działania podejmowane są przez Zarządcę drogi dopiero w przypadku ewidentnego stanu awaryjnego. Wynika to zapewne z braku dostatecznej ilości środków finansowych na prace utrzymaniowe. Roboty takie wykonywane dotychczasowymi technikami są bardzo pracochłonne i kosztowne. Zważywszy na ogromną ilość włazów zlokalizowanych w obrębie jezdni dróg miejskich, w zdecydowanej większości wymagających już od dawna korekty wysokościowej, a nawet tych nie tak dawno wbudowywanych, to usuwanie na bieżąco skutków tego niepożądanego zjawiska przerasta zdecydowanie możliwości budżetowe polskich miast (zdj. 1 i 2).
Dotychczas stosowane sposoby naprawy zapadniętych włazów kanałowych różnią się od siebie w zasadzie tylko techniką i sprzętem zastosowanym do rozbiórki zabudowy włazu oraz materiałami użytymi do wykonania nowego osadzenia korpusu i uzupełnienia wykutych warstw nawierzchni drogowej (zdj. 3 i 4). Czas, po jakim można przywrócić ruch drogowy w miejscu naprawy jest tu bardzo ważnym czynnikiem i to on głównie decyduje o wyborze zastosowania odpowiedniej technologii i użytych materiałów naprawczych. Ma to z kolei znaczący wpływ na koszty bezpośrednie takich robót. Pozwalają one jednak tylko na pewne spowolnienie procesu zapadania się elementu nawierzchni jezdni, jakim jest właz kanałowy. Skutki tego zjawiska prędzej czy później i tak się pojawiają ponownie.
 |
|
 |
| zdj. 3 |
|
zdj. 4 |
Śmiało można porównać to ze stanem zdrowia człowieka i chorobami, które go dopadają w różnych okresach życia. Prawie wszystkie choroby są już znane medycynie, potrafimy je przewidzieć, rozpoznać i z większości wyleczyć lub spowolnić rozwój i ograniczyć skutki. Zależy to od sposobu podejścia, wiedzy specjalistycznej, dostępności do odpowiednich leków i powszechnej diagnostyki. Zapobieganie, wczesne rozpoznanie choroby i rozpoczęcie leczenia w jej początkowym stadium przynosi największe efekty. Udowodniono już, że takie działanie jest najbardziej skuteczne i efektywne. Wbrew pozorom jego koszty, a musimy tu brać wszystkie koszty, w tym tzw. koszty społeczne ochrony zdrowia i życia społeczeństwa, okazują się być dużo niższe, ale liczone w dłuższej perspektywie czasowej.
Przyjmując podobny sposób działania w celu ograniczenia skutków „choroby” włazów kanałowych i wyeliminowania ww. problemu z naszego życia także możemy liczyć na sukces. A jak to robić?

rys. 1 Przebieg osiadania włazów w różnych warunkach eksploatacji
Jeżeli za podstawową „chorobę” włazów przyjmiemy ich osiadanie, to za jej rozwój odpowiedzialnością obarczyć musimy głównie oddziaływania środowiska, jakim są cykliczne obciążenia dynamiczne wywoływane ruchem pojazdów po nich przejeżdżających. Wielkość tych obciążeń jest pochodną intensywności ruchu, prędkości oraz głównie masy pojazdów poruszających się po danej drodze. A więc rozwoju tej „choroby” uniknąć się nie da, chyba, że wstrzymamy ruch pojazdów, co byłoby absurdem. Natomiast tempo jej rozwoju możemy spowolnić ograniczając przyrost wartości obciążeń dynamicznych wywoływany coraz większą różnicą poziomu między pokrywą włazu a otaczającą go nawierzchnią jezdni, nawet przy niezmienionych warunkach ruchu drogowego. Właśnie takie działanie może okazać się najskuteczniejszą terapią. Aby je zrealizować należałoby sukcesywnie korygować położenie włazu nie dopuszczając do jego obniżenia się poniżej pewnej granicznej wartości, np. 3 mm, a nie jak dotychczas reagować dopiero przy 20÷30 mm. Tak późna reakcja, jak obecnie stosowana, wymaga już dużego zakresu robót i jest kosztowna, tym bardziej, że staje się niezbędna w coraz krótszych odstępach czasu z powodu stale rosnącego natężenia ruchu jak i jego charakteru. Zmiana tego podejścia wydaje się mało realna, bo przecież obecne przepisy, jako dopuszczalną odchyłkę w ustawieniu nowego włazu przyjmują wartość ±5 mm!!! Różny przebieg osiadania włazów przedstawiono na powyższym wykresie (rys.1 – oprac. własne autora).
Należy mieć świadomość, że taka wczesna korekta nie jest jednokrotna ani ostateczna, gdyż osiadanie włazów będzie trwało dalej, ale zostanie ono jednak spowolnione, ponieważ proces ten jest głównie konsekwencją osiadania studni kanalizacyjnych, w różnych zakresach i rozłożonych w czasie. Można przyjąć, że tempo osiadania studni jak i włazów początkowo wzrasta na skutek zwiększania się obciążeń dynamicznych powodowanych przez koła pojazdów najeżdżających na coraz bardziej zapadnięte ich pokrywy. Osiadanie studni z czasem maleje, ale ma miejsce jeszcze dalsza degradacja podmurówki czy podlewki samego włazu. A to już jest stadium końcowe tej „choroby”.
Jednym z rozwiązań może być zastosowanie pokrywy korygującej przeznaczonej do włazów, które nie doznały jeszcze znacznego obniżenia, tzn. w przedziale 4÷16 mm i nie wystąpiła widoczna deformacja otaczającej ich nawierzchni bitumicznej. Pokrywa korygująca ma kształt prawie identyczny jak normalna, a różni się od niej tylko tym, że obrzeże, na którym opiera się o korpus włazu ma powiększoną grubość o tyle, o ile należałoby wynieść poziom wierzchu pokrywy, aby znalazła się na poziomie otaczającej ją nawierzchni drogi. Istotą tego rozwiązania jest to, że nie jest to jeden rodzaj pokrywy, ale odpowiednio dobrana ilościowo seria pokryw o różnych grubościach obrzeża różniących się od siebie skokowo o np. 3, 4 lub 5 mm.
Ze względów praktycznych i technicznych rozwiązanie to wydaje się być skuteczne i ekonomicznie opłacalne dla przypadków, w których zapadniecie się włazu nie przekroczyło jeszcze wartości 25 mm („jeszcze wczesne stadium choroby”) przy jednoczesnym pochyleniu nie większym niż 2÷3 wartości skoku typoszeregu pokryw, nawierzchnia wokół włazu nie uległa spękaniu, nie doznała jeszcze ubytków, które nie muszą jeszcze być poddane korekcie wysokościowej. Ale w tym przedziale mieści się około 50÷60% włazów.
Równoległym działaniem pozwalającym wyjść z tego impasu wydaje się być wprowadzenie do stosowania nowego typu włazu kanałowego, jakim jest właz nastawny. Konstrukcja takiego włazu sprawia, że posiada on możliwość zmiany poziomu usytuowania jego pokrywy w stosunku do górnej krawędzi korpusu, w którym jest osadzona. Niewątpliwą zaletą tej konstrukcji jest to, że bez żadnych czynności ingerujących w konstrukcję zabudowy nawierzchni drogowej otaczającej właz pozwala dokonać szybkiej i łatwej korekty położenia jego pokrywy w stosunku do poziomu nawierzchni. Umożliwia to kształt powierzchni oparcia pokrywy w korpusie włazu, która ma formę schodkową (rys. 5, 7, 8). Przyjęta tu wysokość schodka pozwala stopniowo o jej wartość podnosić pokrywę w stosunku do górnej krawędzi korpusu. Dokonuje się tego poprzez niewielkie uniesienie i obrót pokrywy o wartość szerokości schodka, bez konieczności jej wyjmowania. Zastosowane tu odwrotne pochylenie powierzchni stopni, od krawędzi w kierunku podstopnicy, uniemożliwia samoczynny obrót na pozycję pierwotną, czyli obniżenie się pokrywy. Korzystne dla stabilności takiego oparcia pokrywy jest wykonanie na obwodzie włazu, co najmniej trzech takich biegów schodkowych, ale lepiej sześciu, jak w prezentowanym przypadku, uzależnionej od przyjętej wysokości stopnia (rys. 5, 8). Ta wysokość stopnia decyduje z kolei o dokładności korekty położenia pokrywy w stosunku do poziomu nawierzchni drogowej, np. przy wysokości stopnia h = 4 mm dokładność korekty wyniesie ±2 mm. Dla zabezpieczenia pokrywy przed pojawieniem się nierównego oparcia jej na schodkowej powierzchni korpusu, skutkującego pionowymi ruchami, tzw. klawiszowaniem, a tym bardziej przed możliwością jej wyskoczenia z korpusu, zastosowano specjalne uchwyty śrubowe blokujące pokrywę do korpusu w ilości trzech sztuk równomiernie usytuowanych na jej obwodzie (rys.10).
Korzystniejsze tu wydaje się rozwiązanie w wariancie 2 (rys. 4, 5, 6). Zamiast tradycyjnego zastosowano tu korpus, który posiada schodkowo ukształtowaną powierzchnię obrzeża pod oparcie pokrywy. Na jego obwodzie znajduje się także 6 biegów schodków po 10 stopni każdy. Wysokość stopnia przyjęto 2,5 mm. Korpus nie posiada górnej części pierścienia wystającego ponad to obrzeże do wysokości wierzchu pokrywy włazu. Rolę tę będzie pełnić oddzielny element – pierścień zewnętrzny. Pierścień zewnętrzny o przekroju kątownika znajdujący się na zewnątrz korpusu i opiera się o specjalny występ na jego ścianie jest wtopiony w nawierzchnię. Pełnić on będzie rolę obręczy otaczającej krawędź nawierzchni bitumicznej drogi stykającej się z włazem chroniąc ją przed pękaniem. Znajdujący się wewnątrz pierścienia korpus włazu oparty jest na płycie studzienki kanalizacyjnej. W trakcie użytkowania na skutek obciążeń wywoływanych ruchem pojazdów korpus wraz z pokrywą będzie powoli osiadać, ale pierścień pozostanie równo z powierzchnią nawierzchni. Pokrywa włazu posiadając możliwość jej stopniowego podnoszenia w stosunku do poziomu korpusu, może być sukcesywnie zrównywana do poziomu pierścienia zewnętrznego i nawierzchni.
Przykłady rozwiązań konstrukcji włazu nastawnego

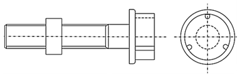
rys. 2 Widok włazu z góry

rys. 3 Przekrój pionowy włazu
|

|
| Wariant 1 |
 |
| Wariant 2 |
| rys. 4 Przekrój korpusu A–A |
 |
|
 |
| Wariant 1 |
|
Wariant 2 |
|
rys. 5 Widok perspektywiczny korpusów włazu
|
 |
|
 |
|
rys. 6 Widok perspektywiczny włazu z pierścieniem w wariancie 2
|
 |
|
 |
|
rys. 7 Widok pokrywy z góry
|
 |
|
 |
|
rys. 8 Widok pokrywy od dołu
|

rys. 9 Przekrój pokrywy A–A
 |
|
 |
| a) |
|
b) |
|
rys. 10 Blokada pokrywy - a) zwolniona – b) uruchomiona
|

rys. 11 Śruba blokady
 |
|
 |
| a) |
|
b) |
|
rys. 12 Profil blokady – a) widok z góry; b) przekrój A–A
|
Zaprezentowana tu konstrukcja włazu nastawnego pozwoli na bieżącą korektę wysokościową jego pokrywy w stosunku do poziomu nawierzchni drogowej. Korekta taka wykonywana na bieżąco w odpowiednim momencie w znaczącym stopniu niwelować będzie pojawiające się, coraz większe obciążenia dynamiczne. Działanie to spowolni tempo osiadania całego włazu, wydłuży okres bezpiecznej eksploatacji i zwiększy trwałość konstrukcji otaczającej go drogi. Zachowanie to przedstawiają poniższe wykresy (rys. 13 i 14).

rys. 13 Graficzna postać przebiegu osiadania włazu przy wysokości stopnia 5 mm

rys. 14 Graficzna postać przebiegu osiadania włazu przy wysokości stopnia 2,5 mm
Efektem takiego działania będzie podniesienie komfortu jazdy użytkowników dróg, ich bezpieczeństwa, spadek poziomu hałasu, co niewątpliwie zostanie zauważone i docenione. Po jego upowszechnieniu rozwiązanie to może w niedługim czasie pozwolić na wyeliminowanie z naszego życia tego powszechnie uciążliwego i społecznie nieakceptowalnego problemu. Będzie to korzystne dla kierowców i ich pojazdów, a także dla firm ubezpieczeniowych, które zmuszane są wypłacać, coraz częściej i coraz wyższe odszkodowania właścicielom uszkodzonych samochodów.
A zarządcy dróg, właściciele sieci infrastruktury podziemnej? Oni też odczują korzyści z tego wynikające. Spadną znacząco koszty wykonywania napraw kolejnych zapadniętych włazów ponoszonych przy dotychczasowym systemie działania. Będzie ich coraz mniej i w dłuższych odstępach czasowych. Nie narazi to ich na dynamiczny wzrost cen wykupu polis ubezpieczeniowych, nie wspominając o korzyściach wynikających z pozytywnej społecznej oceny takiego działania. Wymagać to jednak będzie dużej zmiany w podejściu do czynności utrzymaniowych, kontroli stanu technicznego tych urządzeń, stałego monitorowania i wykonywania na bieżąco korekt położenia pokryw. Ale takie działania będą mniej kosztowne, pomimo zaangażowania większej liczby osób do tych czynności. Wprowadzenie systemu „Utrzymaj standard”, który już z powodzeniem stosuje wielu Zarządców Dróg może doprowadzić do sukcesu w walce z tym PROBLEMEM.
Musimy mieć świadomość, że ze względu na koszty zastosowanie tego rozwiązania pozwoli odczuć znaczący efekt dopiero w dłuższej perspektywie czasowej.
A co z włazami, których wymiana może być konieczna w bardziej odległej przyszłości, bo przecież takich na razie istnieje bardzo dużo, setki tysięcy, czy więcej? Tu proponuje się wykorzystać rozwiązanie techniczne opisane wcześniej – pokrywę korygującą.
Warszawa, 07 czerwca 2018
Wszystkie zaprezentowane rozwiązania posiadają ochronę Urzędu Patentowego RP (https://drenkar.eu).